联办效能
  • 单件办 一件事联办
  • 办理时间: 60个工作日 20个工作日
  • 跑动次数: 4次
    1次
  • 单件办 一件事联办
  • 提交材料: 18份 10份份
  • 办理环节: 9个 1个

基本信息

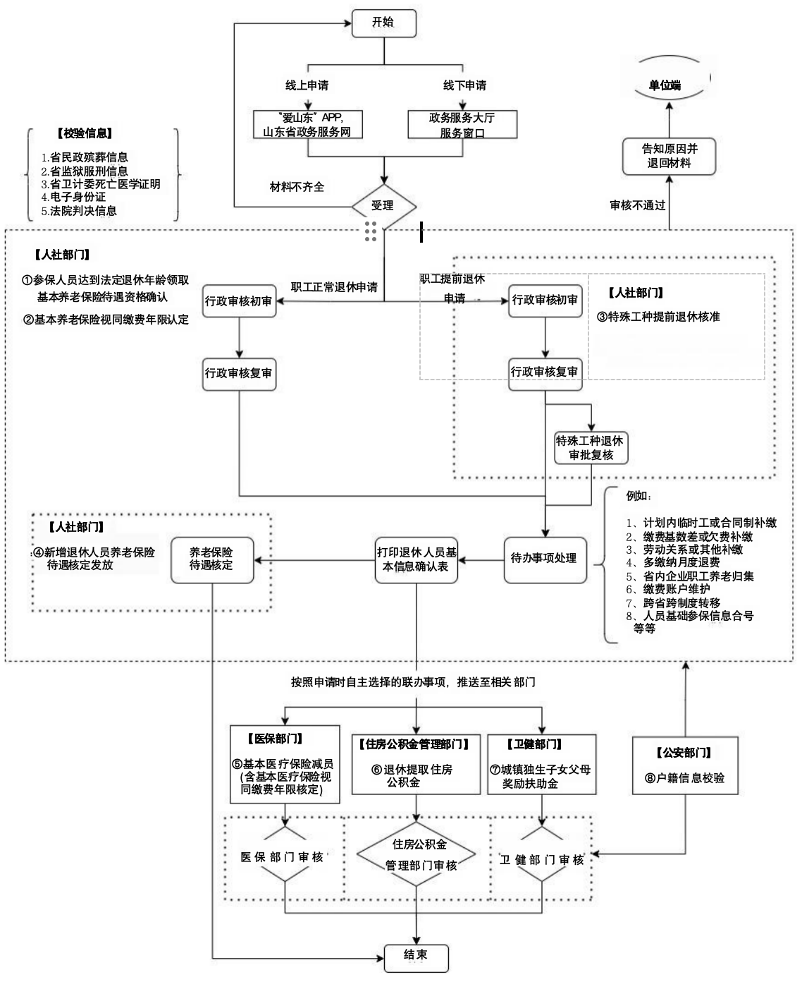
“一件事”名称 退休“一件事” 承诺时限 职工退休申请办理时限为20个工作日(存在社会保险费补缴、社会保险关系转移、账户维护、基础数据信息整理等情形的,相关业务办理期限不计入退休一件事的办理时限);职工参保登记(基本医疗保险)减员、住房公积金提取(离休、退休)为即时办理;城镇独生子女父母奖励扶助金资格认定原则上每年一次集中审核。
牵头部门

济南市人力资源和社会保障局

联办部门

济南市公安局、济南市卫生健康委、济南市医保局、济南市住房公积金中心


申请条件 查看申请条件 办理流程 查看办理流程
申请材料 查看材料清单 办理地点 查看办理地点
办理时间 查看办理时间 咨询电话 查看咨询电话
牵头部门

济南市人力资源和社会保障局

联办部门

济南市公安局、济南市卫生健康委、济南市医保局、济南市住房公积金中心


服务对象 企业法人,社会组织法人,非法人企业,其他组织 法定办结时限 60个工作日
承诺办理时限 职工退休申请办理时限为20个工作日(存在社会保险费补缴、社会保险关系转移、账户维护、基础数据信息整理等情形的,相关业务办理期限不计入退休一件事的办理时限);职工参保登记(基本医疗保险)减员、住房公积金提取(离休、退休)为即时办理;城镇独生子女父母奖励扶助金资格认定原则上每年一次集中审核。 网上收费

不收费

收费标准

不收费


收费依据

不收费


办理形式 线上办理、线下办理 结果领取方式

窗口领取、线上打印。

快递物流

事项类型

联办事项

监督投诉电话 0531-12345