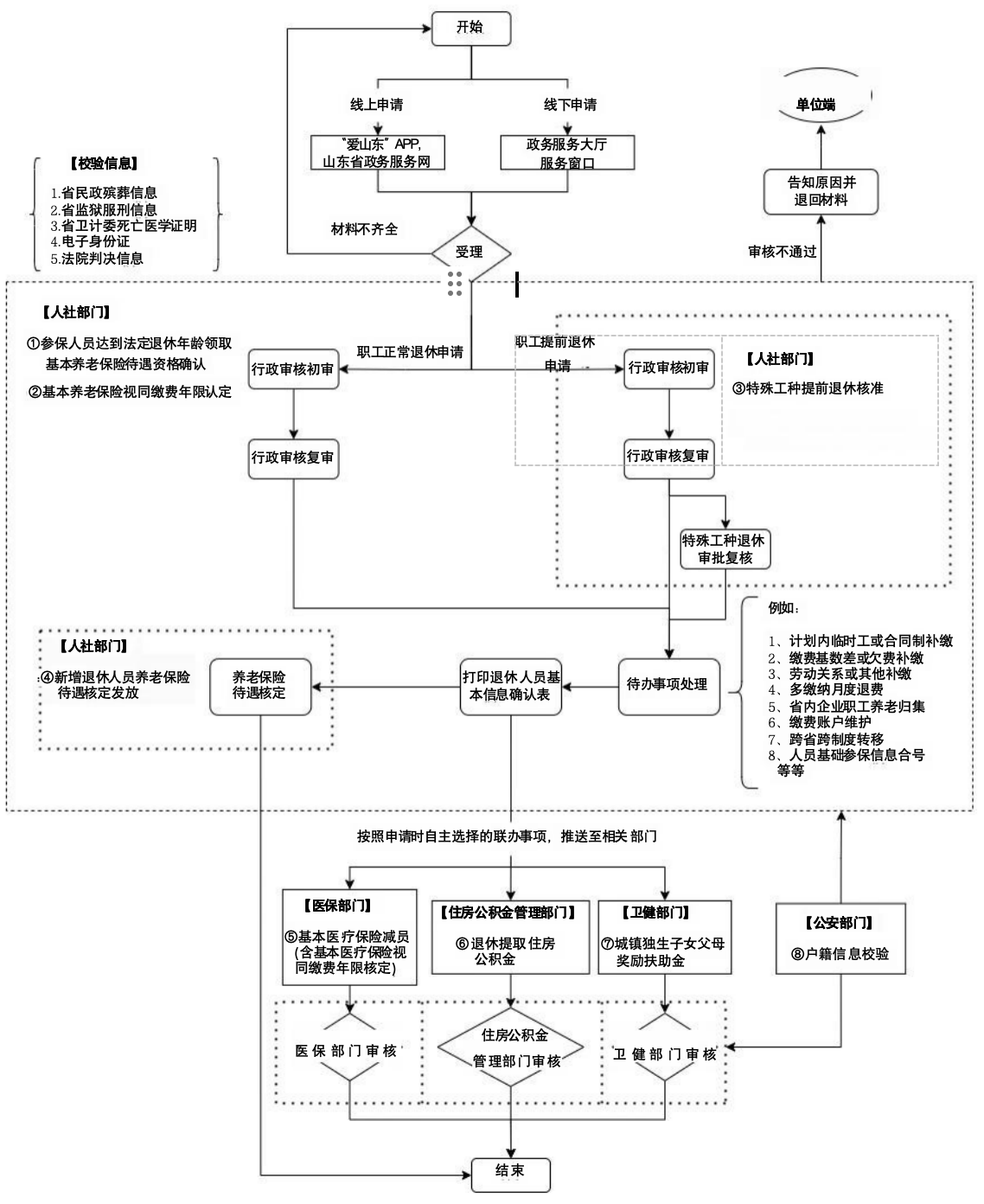
1.申请。申请人通过政务服务网、“爱山东”APP线上提交退休申请或在咨询服务窗口,现场递交相关联办事项申请所需材料,申请时可自主选择医保、住建、卫健相关部门联办事项。 2.受理。通过政务服务网、“爱山东”APP线上提交退休申请的,对于材料不全或不符合法定形式的,线上反馈申请人需要补全修改的全部材料清单;对申请材料齐全或已按要求提交全部补充材料的申请及时做出受理。 通过咨询窗口提交退休申请的,窗口工作人员接收申请人提交的材料后,对材料进行核查,对于材料不全或不符合法定形式的,一次性告知申请人需要补全修改的全部材料清单;并对申请材料齐全或已按要求提交全部补充材料的申请做出引导服务,完成帮办代办。 3.审核。各职能部门对申请人提出的联办申请予以审核: (1)人社部门业务审批科室对申请人企业养老保险待遇资格进行审核确认,通过内部流转办理退休申请、视同缴费年限认定、退休资格确认及养老待遇核发,养老保险退休待遇汇入退休职工本人社会保障卡金融账户。 (2)若申请人提出职工基本医疗保险参保登记人员减员(含基本医疗保险视同缴费年限核定)事项联办申请,在人社部门完成企业职工基本养老保险减员后,将相关信息推送至医疗保障部门,医保部门职工基本医疗保险参保登记人员减员事项办理;其中,基本医疗保险视同缴费年限核定通过人社、医保部门数据共享机制确认。 (3)若申请人提出退休提取住房公积金事项联办,在人社部门完成企业职工基本养老保险减员后,将相关信息推送至住房公积金管理部门,住房公积金管理部门进行审核确认后,将申请人公积金账户余额提取至申请人的银行账户,同时注销其住房公积金账户。 (4)若申请人提出城镇企业退休人员独生子女父母年老奖励扶助或城镇其他居民中独生子女父母年老奖励扶助事项联办,在人社部门完成企业职工基本养老保险减员后,将相关信息推送至卫生健康部门,当事人户籍所在地的卫健部门逐级审核,与人社部门退休信息校验,进行资格确认。当事人可通过“爱山东APP”-城市奖扶-进度查询,通过身份证号查看审核进度。如审核驳回,可在进度查询页面点击“修改填报信息”,更新申报数据后,重新申报。 4.办结。各部门分别对各自负责业务办理结果反馈给申请人。  |